保时捷申请隐形赛车条纹专利
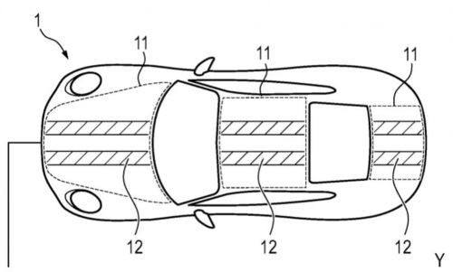
保时捷已为一款隐形赛车条纹技术提交新专利。该技术在车辆外饰采用一种薄膜材料,车企称其为电子纸或顺磁性涂层,施加电压后即可变色。

该专利展示了保时捷对这项技术的多种应用方案,其中最引人注目的便是可消失的赛车条纹。根据这份德国专利文件,条纹颜色可随车辆驾驶模式切换,例如节能模式显示绿色、运动模式显示红色,也可一键完全隐藏。

专利图示还显示,该薄膜可用于后轮后方及后扩散器位置的条纹设计。专利中还提及,可将这项技术应用于纯电动汽车,直接在车身外部显示车辆电量状态。
这是一项精巧的技术,但并非首创。车企早已使用电致变色玻璃,通过电流变化调节玻璃透明度,而该技术只是在此基础上更进一步。
责任编辑:枯川

网友评论