斯巴鲁获悬架专利 可在行驶中调节行驶高度和外倾角
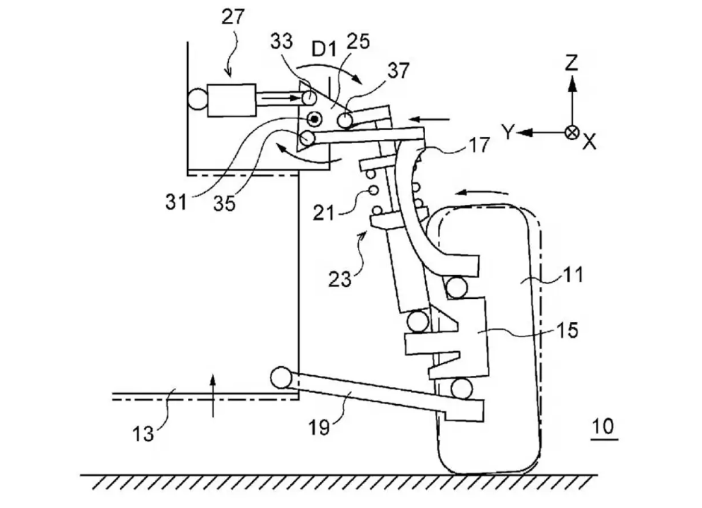
盖世汽车讯 据外媒报道,斯巴鲁(Subaru)获得一项自适应悬架专利,可实时调节行驶高度和车轮外倾角。传感器会调节每个转弯,将赛道控制与舒适性完美融合。
图片来源:USPTO
车身高度和外倾角对于车辆动力学以及车轮定位都至关重要。升高或降低车身会升高或降低重心,也会改变车辆的侧倾中心。而悬架的升高或降低也会改变所谓的“外倾角”。外倾角是指路面与轮胎胎面之间的夹角。
责任编辑:枯川
盖世汽车讯 据外媒报道,斯巴鲁(Subaru)获得一项自适应悬架专利,可实时调节行驶高度和车轮外倾角。传感器会调节每个转弯,将赛道控制与舒适性完美融合。
图片来源:USPTO
车身高度和外倾角对于车辆动力学以及车轮定位都至关重要。升高或降低车身会升高或降低重心,也会改变车辆的侧倾中心。而悬架的升高或降低也会改变所谓的“外倾角”。外倾角是指路面与轮胎胎面之间的夹角。
责任编辑:枯川
网友评论