福特汽车申请可移动护栏专利
盖世汽车讯 据外媒报道,福特汽车公司(Ford Motor Company)已向美国专利商标局(USPTO)申请一项可移动式前部防护装置专利,该装置或将应用于未来的福特车型。该专利于2024年5月10日提交申请,2025年11月13日公布,专利号为0346202。

图片来源: USPTO
近年来,车辆撞行人伤亡事故不断增加,福特公司为此公布了一些专利,提出了一些有助于降低事故数量的方案。这些方案包括发动机舱内安全气囊、前保险杠安装式安全气囊以及行人外部安全气囊系统等等。如今,福特公司最新公布的专利也旨在实现同样的目标,其核心是一种可移动式前部防护装置。
这种可移动式前部防护装置专为大型SUV和卡车设计,这些车辆通常拥有较高的前保险杠,一旦发生碰撞,可能会导致行人股骨或胫骨部位受到不均匀的冲击。考虑到这些车辆较高的行驶高度有利于应对崎岖路面和越野路况,福特公司提出采用这种方案,而不是简单地降低前保险杠的高度。

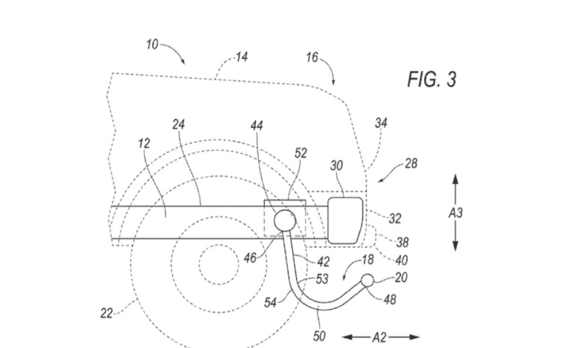
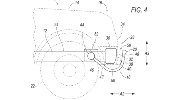
此处的解决方案是在前保险杠后方安装一个特殊的防护装置,该装置会在即将发生碰撞时向外展开。展开后,该防护装置会增大正面碰撞区域,从而有助于减轻车辆撞行人事故中的伤亡程度。
专利图中显示,车辆包括车架和由车架支撑的车身。车身具有前端。车身定义了一条横轴和一条垂直于横轴的纵轴。车辆包括一个由车架支撑的防护装置,该装置可从第一位置移动到第二位置。该防护装置具有一根沿横轴延伸的横梁。第一位置的横梁位于第二位置的横梁下方。第二位置的横梁位于车身前端的前方,并沿纵轴方向与车身前端保持一定距离。第二位置的防护装置从横梁向下延伸至车身前端下方。

福特在一份声明中表示:“提交专利申请是企业正常运营的一部分,因为这一过程可以保护新创意,并帮助我们构建强大的知识产权组合。专利申请中描述的想法不应被视为我们业务或产品计划的指示。无论专利申请中概述的内容如何,在开发和推广新产品和服务时,我们始终会将客户放在首位。”
责任编辑:枯川

网友评论