福特汽车申请电话筛选系统专利
盖世汽车讯 据外媒报道,福特汽车公司(Ford Motor Company)已向美国专利社保局(USPTO)申请一项电话筛选系统专利,该系统未来或将应用于福特车型。该专利申请于2024年5月14日提交,2025年11月20日公布,专利号为0358359。

图片来源: USPTO
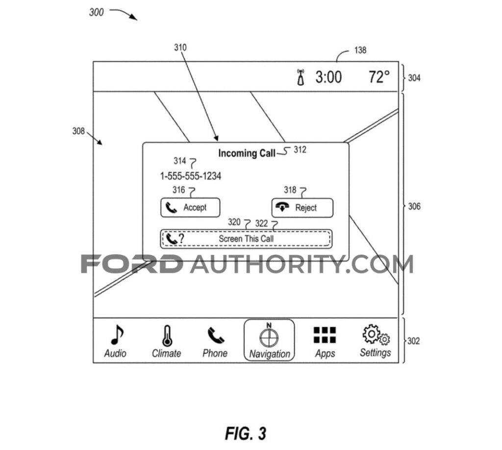
就在几周前,福特公布了一项无人值守电话拦截系统的专利,旨在防止人们在车内发生一件令人烦恼的事情——“误拨”,也就是在不想拨打电话时意外拨出号码。现在,这家汽车制造商又在此基础上推出了一项新专利——这次是电话筛选系统。
这套系统旨在解决另一个令人烦恼的问题:人们经常接到不想接听或被打扰的来电。系统会将来电号码与现有数据进行比对,让用户选择接听、挂断或屏蔽来电。此外,系统还可以更进一步,考虑用户当前认知负荷(即处理工作记忆信息所需的脑力),并在认为必要时自动屏蔽来电。
福特在一份声明中表示:“提交专利申请是企业正常运营的一部分,因为这一过程可以保护新创意,并帮助我们构建强大的知识产权组合。专利申请中描述的想法不应被视为我们业务或产品计划的指示。无论专利申请中概述的内容如何,在开发和推广新产品和服务时,我们始终会将客户放在首位。”
责任编辑:枯川

网友评论