通用汽车申请V8发动机气缸停用系统专利
据外媒报道,通用汽车公司(GM)已提交一项专利申请,该专利申请涉及一种带有摇臂轴端口和插入式套筒的可变排量气门传动系统,用于发动机气缸停用。该专利申请的专利号为US 2025/0382903 A1,于2024年6月17日提交至美国专利商标局(USPTO)。相关文件于2025年12月18日公布,并列出了多位美国工程师作为发明人,其中包括Anteo C. Opipari、Paul Austin、Rolando Huerta Ortiz和Brian J. Warner。
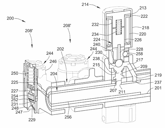
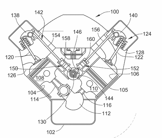
根据专利描述,GM的这种系统适用于配备了摇臂和推杆的发动机,例如顶置气门(OHV)发动机总成。该系统利用可控液压来断开某些气缸的气门驱动。该系统有可能应用于新款第六代小缸体(Gen 6 Small Block)发动机,甚至有可能取代2019款雪佛兰Silverado 1500和2019款GMC Sierra 1500皮卡上引入的DFM系统。

图片来源:USPTO
该系统的核心是一根安装在发动机总成上的摇臂轴,其内部设置有液压油通道。机油控制阀(OCV)安装在摇臂轴上,并与该液压油通道相连。摇臂轴上安装有多个摇臂,每个摇臂的一端都连接着推杆,另一端连接着气门杆。其中的部分摇臂在推杆端装有弹簧锁紧装置。

图片来源:USPTO
在正常运行状态下,摇臂会带动推杆和气门,使气门开启和关闭。当需要停用气缸时,加压液压油经由摇臂轴流入安装在液压油通道内的插入式套筒中。该插入式套筒包含一个供油口,用于将液压油导向OCV,还包含一个供油腔,用于将液压油从OCV输送至摇臂内的弹簧锁紧装置。

图片来源:USPTO
当高压液压油到达弹簧锁紧装置时,该装置会使摇臂与推杆脱离。这会阻止推杆向摇臂传递动力,从而有效地阻止相应的进气门或排气门开启,最终实现气缸的停用。
责任编辑:枯川

网友评论